Stud link anchor chains are a type of heavy-duty chain commonly used for anchoring and mooring vessels. They have a central stud in each link that helps to prevent kinking, deformation, and fouling. These chains are known for their strength and are often preferred for large vessels and applications where significant loads are involved.
At the same time, due to the different regional structures around the world, salmon farmers in South America also like to use stud chains to fix the cages.
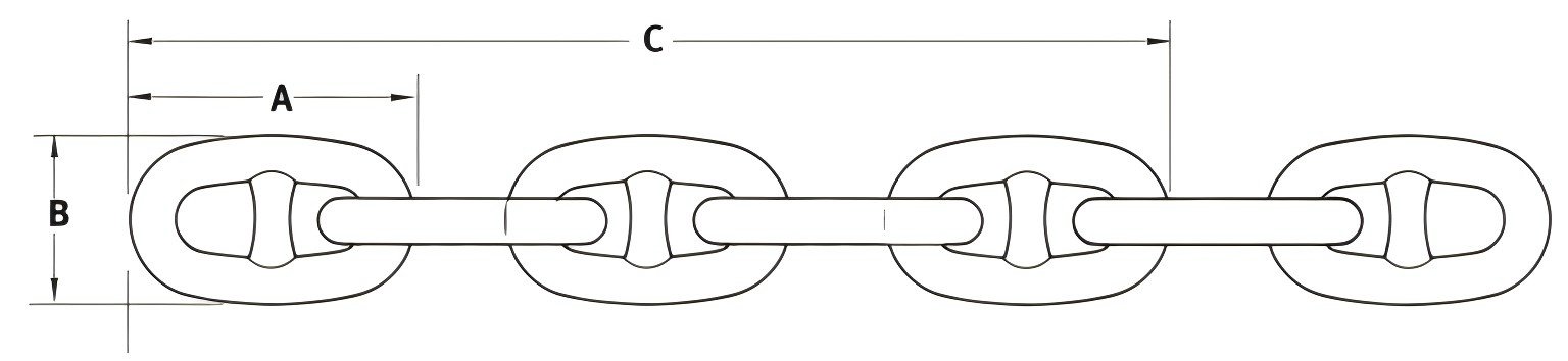
Stud Link Anchor Chain Diagram:

Specification of Stud Link Anchor Chain Fish Chain:
| Nominal specification, breaking load, tension load and unit weight Unit KN |
| Nominal | AM2 | AM3 | Stud link chain weight |
| Dia/mm | MBL | PL | MBL | PL | (kg/m) |
| 20.5 | 244 | 175 | 349 | 244 | 9.2 |
| 22 | 280 | 200 | 401 | 280 | 10.6 |
| 24 | 332 | 237 | 476 | 332 | 12.61 |
| 26 | 389 | 278 | 556 | 389 | 14.8 |
| 28 | 449 | 321 | 642 | 449 | 17.17 |
| 30 | 514 | 368 | 735 | 514 | 19.71 |
| 32 | 583 | 417 | 833 | 583 | 22.43 |
| 34 | 655 | 468 | 937 | 655 | 25.32 |
| 36 | 732 | 523 | 1050 | 732 | 28.38 |
| 38 | 812 | 581 | 1160 | 812 | 31.62 |
| 40 | 895 | 640 | 1280 | 895 | 35.04 |
| 42 | 981 | 703 | 1400 | 981 | 38.63 |
| 44 | 1080 | 769 | 1540 | 1080 | 42.4 |
| 46 | 1170 | 837 | 1680 | 1170 | 46.34 |
| 48 | 1270 | 908 | 1810 | 1270 | 50.46 |
| 50 | 1370 | 981 | 1960 | 1370 | 54.75 |