The foundation of the warping roller shall be determined by the manufacturer in accordance with the standard of ISO13755. The roller fairlead is made from steel casting having a yield point of not less than 205N/mm2 or steel plates having a yield point of not less than 235 N/mm2 and the Axl is made from weldable steel casting having a yield point of not less than 350N/mm2 or equivalent. The warping roller has three types including type A which is made of steel casting without upper dust cover, type B which is made of steel casting with upper dust cover and type C which is made of steel plate with dust cover depending on the construction.
Features of ISO13755 Warping Roller Fairlead:
● Flexible bearing or axle;
● Smooth surface coated externally with an anti-corrosion protective finish;
● Anti-seawater material.
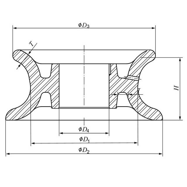
Drawings of ISO13755 Warping Roller Fairlead:

Specification of ISO13755 Warping Roller Fairlead:
| Nominal Size | Dimensions (mm) | SWL | 聽 | 聽 | 聽 |
| (mm) | D1 | D2 | D3 | D4 | H | T | θ=90o |
| θ=0o |
| Weight for type A | Weight for type B | Weight for type C |
|
|
|
|
|
|
| (kN) | (t) | (kN) | (t) | (kg) | (kg) | (kg) |
| 150 | 150 | 230 | 216 | 90 | 137 | 22 | 265 | 27 | 186 | 19 | 23 | 24 | 21 |
| 200 | 200 | 300 | 280 | 115 | 157 | 26 | 441 | 45 | 314 | 32 | 42 | 43 | 37 |
| 250 | 250 | 370 | 340 | 135 | 177 | 30 | 579 | 59 | 412 | 42 | 77 | 80 | 56 |
| 300 | 300 | 430 | 400 | 150 | 197 | 32 | 726 | 74 | 510 | 52 | 109 | 112 | 86 |
| 350 | 350 | 490 | 460 | 167 | 217 | 34 | 1040 | 106 | 736 | 75 | 154 | 160 | 127 |
| 400 | 400 | 560 | 520 | 177 | 237 | 36 | 1246 | 127 | 883 | 90 | 207 | 215 | 174 |
| 450 | 450 | 620 | 590 | 190 | 257 | 38 | 1599 | 163 | 1128 | 115 | 275 | 286 | 215 |
| 500 | 500 | 680 | 660 | 205 | 277 | 40 | 1942 | 198 | 1373 | 140 | 360 | 374 | 253 |