Aquaculture Mooring Plate / Four-eyes Plate/Connection Plate / Mooring Wheels / Mooring Plate
The four-eye plate is used for the connection between anchor chains and can connect three anchor chains at the same time. The body is integrally forged with special materials which improves the tensile strength.It is widely used for the connection and matching of aquaculture moorings.
The mooring connection plate we produced is Q355 material, with a minimum yield strength of ≥355MPa and tensile strength ranging from 470 to 630MPa, Q355 steel offers superior load-bearing capacity and impact resistance, which is essential for mooring components that need to bear long-term tension and alternating loads in marine environments.
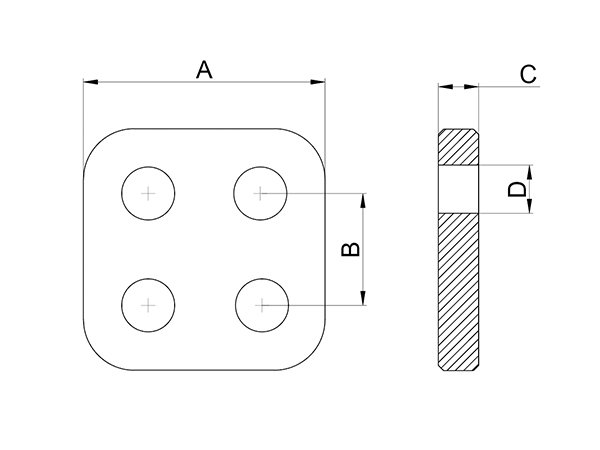
Aquaculture Mooring Connection Plate / Four eye plate Diagram:

Specification of Aquaculture Mooring Connection Plate / Four eye plate:
| Chain Size(mm) | A(mm) | B(mm) | C(mm) | D(mm) | Proof Load(t) | Breaking Load(t) | Weight(kg) |
| 38-46 | 320 | 168 | 50 | 76 | 81.2 | 106 | 13 |
| 48-56 | 360 | 184 | 60 | 88 | 127 | 181 | 25 |
| 58-68 | 430 | 225 | 80 | 102 | 190 | 287 | 50 |
| 70-73 | 506 | 266 | 90 | 120 | 270 | 404 | 81 |
| 76-80 | 550 | 290 | 90 | 130 | 313 | 472 | 132 |