The marine chain grapnel Hook is a tool used to recover lost or detached anchor chain or anchor that has fallen to the seafloor.
It is designed with a claw hook that can grab the chain link so that the hook can be pulled back to the surface to recover the anchor and anchor chain. The root of the claw hook of the grab hook is equipped with a card slot to clamp the anchor chain up to 4 inches long.
The head eye of the grab hook is connected to the trawl cable, and the tail eye can be connected to the tow line to retract the grab hook when the claw hook contacts an "immovable" object on the seafloor.
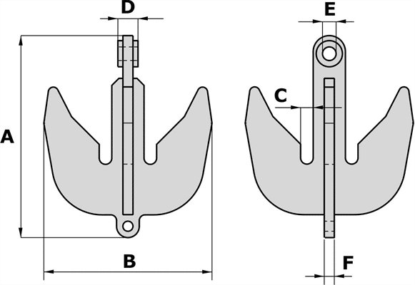
Drawings of Marine Chain Grapnel Hook:

Specification Of Marine Chain Grapnel Hook:
| Pull Load | SWL | Dimensions (mm) | Weight |
| (ton) | (ton) | A | B | D | E | C | (kg) |
| 250 | 150 | 1178 | 1327 | 120 | 86 | 102 | 1380 |
| 400 | 250 | 1994 | 1676 | 200 | 144 | 127 | 2630 |